销售维修热线: 400-090-5550
传真:+86-755-26517900
总机:+86-755-26517000
邮件:cadro@cadrolift.com
安装合规合法的汽车尾板,真的很简单!
交通运输部联合相关单位研究起草了《车用起重尾板安装与使用技术要求》国家标准,标准已于2019年12月1日实施,标准号GB/T 37706。2020年01月09日交通运输部办公厅、工业和信息化部办公厅、公安部办公厅、市场监管总局办公厅发布关于做好《车用起重尾板安装与使用技术要求》贯彻实施工作的通知,指导车用起重尾板国标执行具体事项。

《通知》中强调了多部门联合确保尾板国标落地,促进货运市场节能增效。尾板国标已经执行近6个月,全国各地交管部门已经执行尾板国标相关要求,开展办理尾板安装合法化登记业务。
相关部门对国标实施给予足够的支持,只要车辆有尾板选装公告,选一家合规品牌的尾板,就可以做合规登记了。安装合规合法的尾板就是这么简单!
公告要求

车辆选装尾板公告是主机厂及车辆改装企业做的,在此不做细说。
查询公告操作
扫码关注微信公众号,点击右下角“公告查询”,输入车辆型号,即可查询。


那么国标对尾板产品都有神马要求呢?
看文件, 一定要看文件哦.......
一定要看文件.......
一定要看文件.......
相关文件要求
1.生产销售的尾板应符合《车用起重尾板》(QC/T 699)规定,并经取得资质认定的检测机构检测合格;
2.尾板安装企业要按照《车用起重尾板安装与使用技术要求》(GB/T 37706)以及相应的标准检测要求,核验尾板加装检验对应的检测项目。
国标中对尾板各种技术参数作出了明确的要求,并且强制尾板企业必须做第三方权威机构产品检测并检测合格。

我们先看看检测什么

检测项目太多了,选择尾板时都要一一核对吗?
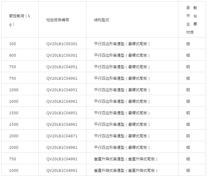
当然不用,我们只看检测报告,如上文件就是完整的检测报告,每款合规的尾板产品都会对应有一个报告编号。
凯卓立尾板全系产品对应检测报告编号
(主机厂、改装企业可关注“凯卓立官方服务号”微信公众号,在线申请,索取报告证明)

因受疫情影响,尾板产品的强制检测的要求,相关部门给予一定时间,允许产品合格的企业延后检测,所以目前市场中在销售的尾板产品很少有完整的产品检测报告。
为什凯卓立有全系产品检测报告?
在行业内凯卓立在2016年就率先开始做尾板产品检测。

2004年起草尾板企业标准QC/T699—2004《车用起重尾板》;
2015年参与起草、制定尾板安装行业技术标准JT/T962—2015;
2018年主导起草尾板国家标准GB∕T37706,2020年正式实施;
凯卓立,20余年致力尾板安装合法化!